PN8007固定5V輸出非隔離交直流轉換芯片 可替代LP2178A
5V 150MA SOP8
5V 150MA SOP8
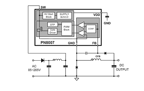
PN8007集成PFM控制器及650V高可靠性MOSFET,用于外部元器件極精簡的小功率非隔離開關電源。 PN8007內置650V高壓啟動,實現系統(tǒng)快速啟動、超低待機功能。該芯片提供了完整的智能化保護功能,包括過載保護,欠壓保護,過溫保護。另外PN8007具有優(yōu)異的EMI特性。
內置650V高可靠性MOSFET
內置高壓啟動
適用于Buck、Buck-Boost、Flyback等多種架構
輸出電壓固定為5V
半封閉式穩(wěn)態(tài)輸出電流能力150mA @230VAC
改善EMI的降頻調制技術
優(yōu)異的負載調整率和工作效率
全面的保護功能
過載保護(OLP)
過溫保護(OTP)
欠壓保護(UVLO)

應用:非隔離輔助電源
家電
智能家居